Продам: Лебедка электрическая тяговая У5120.60 - Купить: Лебедка электрическая тяговая У5120.60, Киев - Продажа: Инструменты и оборудование Киев - 420555

Объявление

Лебедка электрическая тяговая У5120.60 - Инструменты и оборудование

Продам, предлагаю - частное лицо: Инструменты и оборудование, Украина, Киев и область
Назад к списку  Распечатать
Код: 420555 Создано: 04-07-2014 16:06

Цена: 4 500 грн. ₴

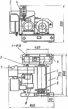
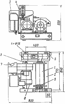
Описание: Лебедка У5120.60 предназначена для производства подъемнотранспортных операций при строительных, монтажных и других работах, а также для комплектации строительных подъемных устройств. Лебедка У5120.60 не предназначена для подъема людей. Рассчитана для работы в следующих условиях: - окружающая среда - невзрывоопасная; - температура окружающей среды от +40° С до - 40° С; - климатическое исполнение "У" и "Т", категория "2" по ГОСТ 15150-69; - рабочее положение - крепление на горизонтальной площадке; - режим работы легкий; - рабочее напряжение 380В, частота тока 50Гц. Срок службы лебедки - 10 лет. По желанию заказчика лебедка может комплектоваться электрооборудованием во взрывозащищенном исполнении согласно ГОСТ 12.2.020-76. Отгрузка осуществляется автомобильным или железнодорожным транспортом. Производитель гарантирует соответствие лебедки требованиям действующей технической документации и безотказную работу в течение гарантийного срока, при условии соблюдения потребителем правил эксплуатации, транспортирования, хранения и монтажа. Состав лебедки: 1 - Барабан в сборе; 2 - Рама; 3 - Кожух; 4 - Установка пусковой аппаратуры; 5 - Муфта; 6 - Прочие изделия; 7 - Редуктор; 8 - Тормоз; 9 - Электродвигатель; 10 - Канат Доставка по всей Украине.


Картинки

Реклама

Контактные данные

Имя: Александр
 
Контактный телефон: +38 (099) 923-39-03
 
Мобильный телефон: +38 (098) 508-12-92
 

Задать вопрос владельцу объявления

Email *
 
Повторите e-mail адрес *
 
Контактная информация
Имя:  
Контактный телефон:  
Мобильный телефон:  
Ваше сообщение будет отправлено на email адрес владельца объявления.: *





Реклама






FreeAds.in.ua - бесплатные объявления Украины
Доска объявлений Киева - AdMir.kiev.ua



Строительный портал ДивоСтрой Киев - divostroi.kiev.ua





Наша кнопка:
еКомиссионка

Код кнопки