Продам: Транзисторы 2Т3132А-2. Военная приёмка. СВЧ - Купить: Транзисторы 2Т3132А-2. Военная приёмка. СВЧ, Киев - Продажа: Комплектующие Киев - 574163

Объявление

Транзисторы 2Т3132А-2. Военная приёмка. СВЧ - Комплектующие

Продам, предлагаю - частное лицо: Комплектующие, Украина, Киев и область
Назад к списку  Распечатать
Код: 574163 Создано: 07-06-2019 16:50

Цена: 35 грн. ₴

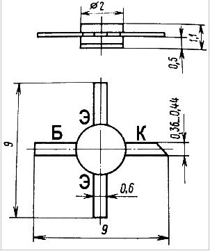
Транзисторы 2Т3132А-2. Военная приёмка. СВЧ Транзисторы 2Т3132А-2 кремниевые эпитаксиально-планарные структуры n-p-n усилительные с нормированным коэффициентом шума. Предназначены для применения в СВЧ маломощных усилителя диапазона частот 1...7,2 ГГц герметизированной аппаратуры. Бескорпусные на кристаллодержателе с гибкими выводами. Тип прибора указывается в этикетке. Масса транзистора в держателе не более 0,2 г, кристалла - не более 0,002 г. Тип корпуса: КТ-21. Технические условия: аА0.339.300 ТУ. Основные технические характеристики транзистора 2Т3132А-2: • Структура транзистора: n-p-n • Рк max - Постоянная рассеиваемая мощность коллектора: 70 мВт; • fгр - Граничная частота коэффициента передачи тока транзистора для схемы с общим эмиттером: не менее 5,5 ГГц; • Uкэr max - Максимальное напряжение коллектор-эмиттер при заданном токе коллектора и заданном (конечном) сопротивлении в цепи база-эмиттер: 10 В (1кОм); • Uэбо max - Максимальное напряжение эмиттер-база при заданном обратном токе эмиттера и разомкнутой цепи коллектора: 1 В; • Iк max - Максимально допустимый постоянный ток коллектора: 8,5 мА; • Iкбо - Обратный ток коллектора - ток через коллекторный переход при заданном обратном напряжении коллектор-база и разомкнутом выводе эмиттера: не более 0,5 мкА; • h21э - Статический коэффициент передачи тока транзистора в режиме малого сигнала для схем с общим эмиттером: 15... 150; • Ск - Емкость коллекторного перехода: не более 5,5 пФ; • Кш - Коэффициент шума транзистора: не более 2,5 дБ на частоте 3,6 ГГц Стоимость 35 грн. за ед. В наличии 10 шт. Оплата и доставка: Предоплата. Доставка только по Украине Новой Почтой, Укрпочтой или Интайм. Доставку Новой Почтой или Интайм оплачивает Покупатель по тарифу перевозчика при получении. Доставка Укрпочтой - предоплата 10 грн.


Картинки

Реклама

Контактные данные

Имя: Виктор
 
Контактный телефон: 0951803885
 
Мобильный телефон: 0951803885
 

Задать вопрос владельцу объявления

Email *
 
Повторите e-mail адрес *
 
Контактная информация
Имя:  
Контактный телефон:  
Мобильный телефон:  
Ваше сообщение будет отправлено на email адрес владельца объявления.: *





Реклама






FreeAds.in.ua - бесплатные объявления Украины
Доска объявлений Киева - AdMir.kiev.ua



Строительный портал ДивоСтрой Киев - divostroi.kiev.ua





Наша кнопка:
еКомиссионка

Код кнопки