Объявление
Пескоуловители для поломоечных машин - Прочее для строительства и ремонта
Продам, предлагаю - частное лицо: Прочее для строительства и ремонта, Украина, Киев и областьКод: 769964 Создано: 07-06-2023 13:39
|
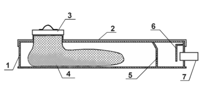
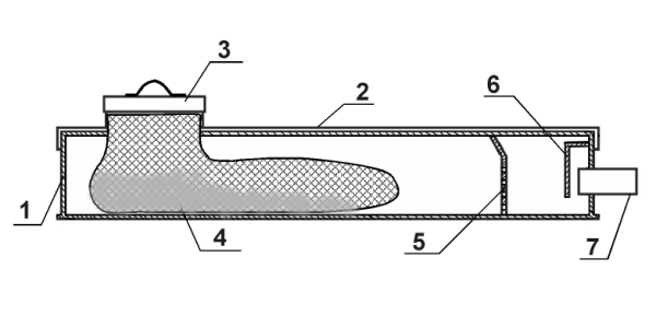
Купите прямо сейчас. Пескоуловители специально разработаны с учетом особенностей машинной уборки помещений. Высота заливной горловины песколовок специально рассчитана для поломоечных машин разных типов и объемов. Песколовки просты и удобны в эксплуатации - необходимо только установить песколовку в удобном для подъезда машины месте. Доставка по Украине. http://greenera.com.ua/catalog/peskouloviteli |
|
Картинки
Контактные данные
| Имя: |
Виталий |
|
| Контактный телефон: |
097 410 98 89 |


